EEWORLDEEWORLDEEWORLD

Part Number

Search
Datasheet >

NOR

Showing 22 Results for NOR, including NORP-11,NORP11, etc. You can look for possible substitutions between devices by comparing the similarities and differences between them.
Part Number Manufacturer Description Datasheet
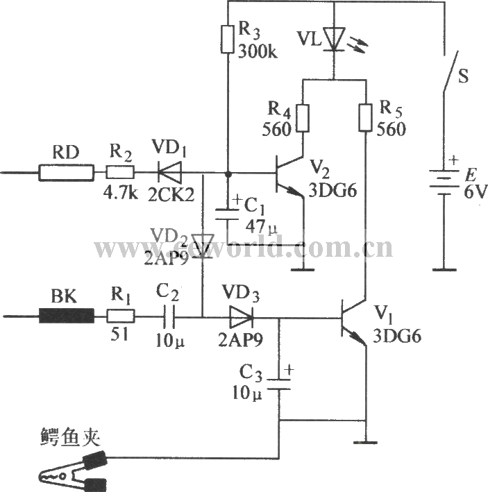
NORP-11 - NORP CdsS PHOTOCONDUCTIVE CELLS Download
NORP11 - NORP CdsS PHOTOCONDUCTIVE CELLS Download
NORP-11 - norp cdss photoconductive cells Download
NORP11 - norp cdss photoconductive cells Download
NORP-12 - NORP CdsS PHOTOCONDUCTIVE CELLS Download
NORP12 - NORP CdsS PHOTOCONDUCTIVE CELLS Download
NORP12 - norp cdss photoconductive cells Download
NORP-12 - norp cdss photoconductive cells Download
NORP-12 Silonex Inc. Optoelectronic Device Download
NORP-13 - NORP CdsS PHOTOCONDUCTIVE CELLS Download
NORP13 - NORP CdsS PHOTOCONDUCTIVE CELLS Download
NORP-13 - norp cdss photoconductive cells Download
NORP13 - norp cdss photoconductive cells Download
NORPS-11 SILONEX CdS Photocell Plastic Package Download
NORPS-11 Silonex Inc. Photo Resistor, Download
NORPS-11 Luna Optoelectronics Photo Resistor, Download
NORPS-12 SILONEX SILONEX - NORPS-12 - LDR; 1MOHM; 250mW; NORPS SERIES Download
NORPS-12 Vesper PHOTOCELL Download
NORPS-12 Silonex Inc. Photo Resistor, Download
NORPS-12 Luna Optoelectronics Photo Resistor, Download
NORPS-13 SILONEX CdS Photocell Plastic Package Download
NORPS-13 Silonex Inc. Photovoltaic Cell, Download
NOR Related Product Datasheets:
Part Number Datasheet
NORP-11 、 NORP-12 、 NORP-13 、 NORP11 、 NORP12 、 NORP13 Download Datasheet
NORP-11 、 NORP-12 、 NORP-13 、 NORP11 、 NORP12 、 NORP13 Download Datasheet
NORPS-12 Download Datasheet
NORPS-12 Download Datasheet
NORPS-13 Download Datasheet
NORPS-13 Download Datasheet
NORPS-12 Download Datasheet
NORPS-11 Download Datasheet
NORP-12 Download Datasheet
NORPS-11 Download Datasheet
NOR Related Products:
Part Number NORP-11 NORP-12 NORP-13 NORP11 NORP12 NORP13
Description NORP CdsS PHOTOCONDUCTIVE CELLS NORP CdsS PHOTOCONDUCTIVE CELLS NORP CdsS PHOTOCONDUCTIVE CELLS NORP CdsS PHOTOCONDUCTIVE CELLS NORP CdsS PHOTOCONDUCTIVE CELLS NORP CdsS PHOTOCONDUCTIVE CELLS

Technical ResourceMore

ForumMore

Technical VideoMore

EEWorld
subscription
account

EEWorld
service
account

Automotive
development
circle

Robot
development
community

About Us Customer Service Contact Information Datasheet Sitemap LatestNews

Datasheet   0 1 2 3 4 5 6 7 8 9 A B C D E F G H I J K L M N O P Q R S T U V W X Y Z
Search Index   0 1 2 3 4 5 6 7 8 9 A B C D E F G H I J K L M N O P Q R S T U V W X Y Z
Index   0F 54 5B 8X BN G7 HK IT J7 L2 Q1 T9 WM Y3 YC

Room 1530, 15th Floor, Building B, No. 18 Zhongguancun Street, Haidian District, Beijing Telephone: (010) 82350740 Postal Code: 100190

Copyright © 2005-2026 EEWORLD.com.cn, Inc. All rights reserved 京ICP证060456号 京ICP备10001474号-1 电信业务审批[2006]字第258号函 京公网安备 11010802033920号